正丹股份今日跌18.99% 一机构净卖出4371.65万元
2024/06/13 16:29
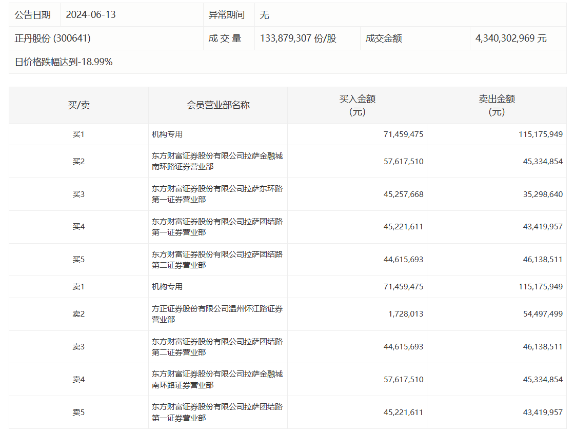
正丹股份今日跌18.99%,成交额43.4亿元,换手率25.14%。盘后龙虎榜数据显示,一机构专用席位净卖出4371.65万元。
事件解读
查看详情
{{aijd[0].boardName}}
{{aijd[0].boardInterpret}}
举报
{{item.suffixTags}}
{{item.stockName}}
{{ item.code }}
{{item.close}}
{{item.upDownPer}}
{{item.upDown}}
分享
热度
意见反馈箱:
yonghu@yicai.com
客服热线:400-6060101
Copyright 第一财经 ALL Rights Reserved
打开