
{{aisd}}
AI生成 免责声明

盘后数据显示,8月21日龙虎榜中,共7只个股出现了机构的身影,有5只股票呈现机构净买入,2只个股呈现机构净卖出。
当天机构净买入前三的股票分别是华北制药、东方日升、新雷能,净买入金额分别为3091万元、1817万元、1744万元。
当天机构净卖出的两只股票分别是中百集团、基蛋生物,净流出金额分别是2688万元、1560万元。
详见下表:

从详细数据看,机构今日净买入最多的华北制药有1家机构买入,净买入金额为3090.68万元。

华北制药今天收报5.38元,涨6.32%,成交额4.78亿元,换手率5.44%。龙虎榜数据显示,买二为机构席位,是异常区间内获机构净买入最多的个股。
8月20日,国家医保局、人力资源社会保障部对外印发了《国家基本医疗保险、工伤保险和生育保险药品目录》的通知,正式公布了国家基本医疗保险、工伤保险和生育保险常规准入部分的药品名单。本次被纳入医保目录的药品共2643个,包括西药1322个、中成药1321个、中药饮片892个。
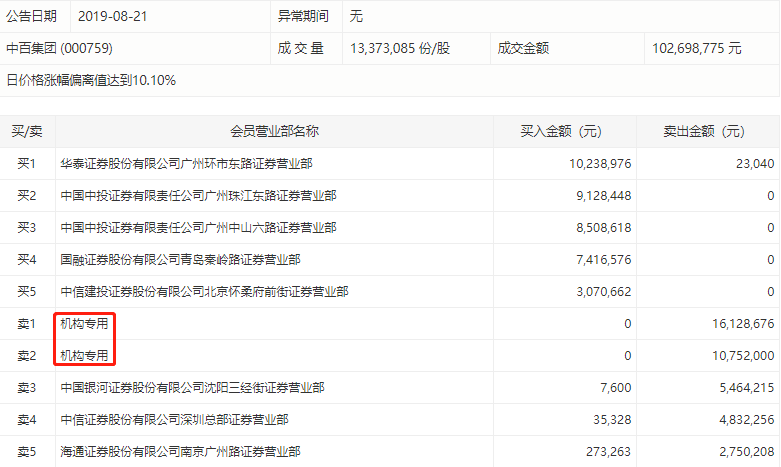
在卖出排行榜上,机构卖出最多的中百集团有2家机构进行了卖出,净卖出金额为2688.07万元。

中百集团收报7.68元,涨10.03%,偏离值10.10%,成交额1.03亿元,换手率1.97%。龙虎榜数据显示,今日共2个机构席位出现在龙虎榜单上,分别位列卖一、卖二,合计净卖出2占龙虎榜净卖额的2115.05%,是今日龙虎榜中遭机构净卖出最多的个股。
8月21日,永辉超市与中百集团双双发布公告称,永辉超市对中百集团的要约收购已于8月20日收到反垄断审查通过的批文,永辉超市近日将向中百集团发出要约收购报告书。