
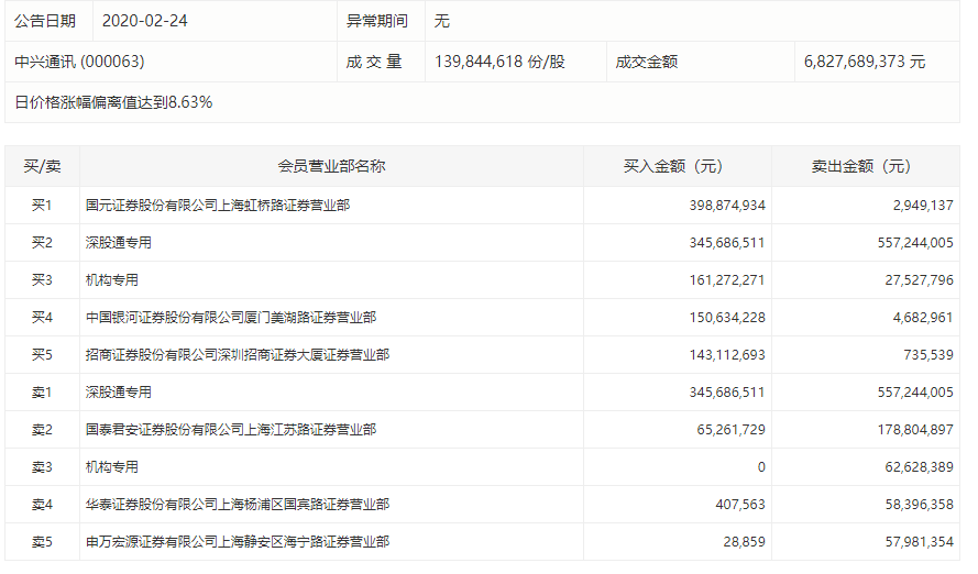
2月24日,中兴通讯收获涨停,截至收盘,该股报50.11元/股,股价创历史新高,换手率4.03%,全天成交额68.28亿元。

盘后数据显示,深股通买入3.46亿元并卖出5.57亿元,一机构买入1.61亿元并卖出2753万元,另一机构卖出6263万元。
另外,榜单上出现了2家实力营业部的身影,分别位列买一、卖二,合计买入4.64亿元,卖出1.82亿元,净额为2.82亿元。

今日,中兴通讯所属通信设备板块掀涨停潮,截至收盘,特发信息、宜通世纪、中兴通讯、大富科技等15股涨停。

2月22日,工信部召开加快推进5G发展、做好信息通信业复工复产工作电视电话会议,会议提出,基础运营商要做好5G发展和复工复产工作,加快5G(特别是SA)步伐,切实发挥5G建设对“稳投资”、带动产业链发展的积极作用。截至目前,全国建设开通5G基站数超过15万个。
近日,由中兴通讯制造工程研究院设计的5G Leaf Veins叶脉系列基站凭借着优雅的外观、独特的创意斩获2020年德国iF产品设计奖。此次获奖的5G基站名为Leaf Veins(叶脉),5G叶脉系列基站采用多天线技术,能提高频谱利用率,满足现代大流量网络通信的需求。
国金证券认为,我国通信设备投资整体晚于欧美国家,投资更大,通信设备投资的周期性更为明显。作为主设备商龙头上市公司的中兴通讯,每次通信设备投资高峰期都会迎来PE提升,且幅度超过诺基亚与爱立信。参考历史表现,随着20-22年5G进入三年规模建网期,公司有望迎来估值和业绩戴维斯双击。
中信建投指出,5G周期,中国商用进程处于全球第一梯队,中国设备商有望充分受益。该机构预估全球运营商可能会给予中兴通讯更多机会,预计中兴通讯在中国的5G基站份额有望提升至35%+(2021~2022年)。
西部证券认为,5G进程加速,关注基建与应用两大机遇。中国联通为代表的运营商5G建设提速,而在目前“稳投资”的大背景下,运营商全年的建设总规模不排除追加的可能性,5G基建板块受益确定性高,建议关注主设备商中兴通讯,上游PCB供应商崇达技术、华正新材。
