
{{aisd}}
AI生成 免责声明
3月16日,北化股份日内大幅波动,走出“天地天板”,录得连续第四个涨停,报15.04元,成交额21.51亿元,换手率超28%。

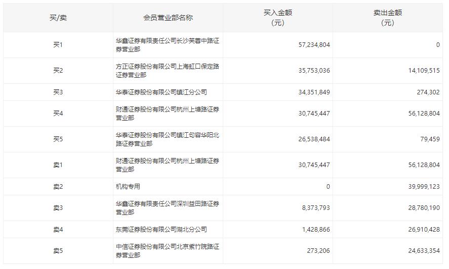
盘后数据显示,华鑫证券长沙芙蓉中路买入5723万元,方正证券上海保定路买入3575万元,财通证券杭州上塘路卖出5615万元,一机构卖出近4000万元。

消息上,国家卫生健康委员会日前发布《关于印发新冠病毒抗原检测应用方案(试行)的通知》,表示决定在核酸检测基础上,增加抗原检测作为补充。
有投资者在互动平台提问:“公司生产的硝化棉,或者其他产品是新冠抗原检测试剂必须材料吗?公司有产品应用于抗原检测材料吗?”
对此,北化股份回应,公司的硝化棉产品应用于国防武器装备、海外民用枪弹、涂料、油墨及赛璐璐制品等领域,公司现有产品及下游客户均未涉及抗原检测材料的应用。
北化股份还表示,公司目前未与药企合作。